background image
90
·
Refraktif Cerrahi
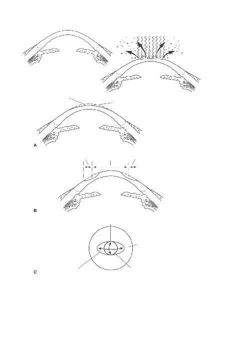
fiekil 6-1
Ekzimer laser ile kornean>n yeniden flekillendirilmesinin flematik gösterimi. A, Santral kor-
nean>n bas>klaflt>r>lmas> ile miyopik kornean>n düzeltilmesi. B, Santral kornan>n nispeten diklefltiril-
mesi ve periferin kaz>nmas> ilke hipermetropinin düzeltilmesi. C, Birbirinden 90° uzaktaki dokular>n
ç>kar>lmas> ile astigmatizman>n düzeltilmesi. Miyopik astigmatizmada daha fazla doku ç>kar>lan dik
meridyenin elipsin dar kenar>na tekabül etti¤ine dikkat ediniz. D, LASl>r, ek-
zimer laser ablasyonu aç>¤a ç>kar>lm>fl olan stroma yata¤>na uygulan>r vedaha sonra flep yerine ko-
nulur. Yata¤>n de¤iflen flekli flepin ön yüzeyinde de ayn> de¤iflikli¤e neden olur. (Çizim Jeanne Koel-
ling taraf>ndan yap>lm>flt>r.)
(devam> var)
Önce
Yeni biçim
Sonra
Optik zon
Kazan>lm>fl bölge
Dik meridyen
Bas>k meridyen
Tedavi bölgesi
Elde edilen sferik
optik zon
Kazan>lm>fl bölge
Laser tedavisi